3.2 标准模架
如果我们仔细观察一下注塑模具,就会发现对于一般的注塑模具来说,许多结构是相同的,如都有定/动模底板、定/动模板、顶出板、模脚、导柱、导套等,每套模具都包括此类构件。不同的是,每套模具的成型部分(或称模仁结构)各不相同。
为了尽量缩短制造模具的时间,降低制造模具的成本,对于这些共有的构件,现在许多模具厂已不再自己加工,而交由专门的公司来加工,这些公司把此类构件加工好,然后通过螺钉固定在一起,就构成了标准模架,如图3-3所示。模具厂可以根据需求直接购买一定型号的标准模架,然后基于标准模架做出不同的模具结构。
采用标准模架有许多好处,如可以有效提高加工精度、大幅度缩短工期、节省成本、减轻加工师傅的工作量等。如今,大多数模具厂,尤其是模具工业发达地区的模具厂,都采用标准模架来做模具。当然,也有一些地方的模具厂由于各种原因并未采用标准模架,模架的各模板还需要自己加工。
根据产品的结构不同,注塑模具一般可分为两种类型:一种是二板式模具,简称二板模(Two-Plat);另一种是三板式模具,简称三板模(Three-Plat)。二板模又可称为大水口模具,三板模又可称为细水口模具。三板模又可细分为普通细水口模具和简化型细水口模具两种。所谓水口,指的是浇口。大水口指的是直接式浇口、潜伏式浇口、侧浇口等尺寸比较大的浇口;细水口指的是针点式浇口,它的尺寸非常小。
因此,对应的标准模架有大水口模架、普通细水口模架和简化型细水口模架三种类型,而每种类型又可分为许多不同的样式。
下面以最常见的大水口模架为例来介绍一下标准模架,细水口模架与其具有相似之处。
图3-4所示为一套典型的大水口模架实物图,其在大水口模架系列中属于CI型,是最简单、最基本的模架结构,应用非常广泛。

图3-3 标准模架

1—定模底板;2—定模板;3—动模板;4—模脚;5—上顶出板;6—下顶出板;7—动模底板。
图3-4 一套典型的大水口模架实物图
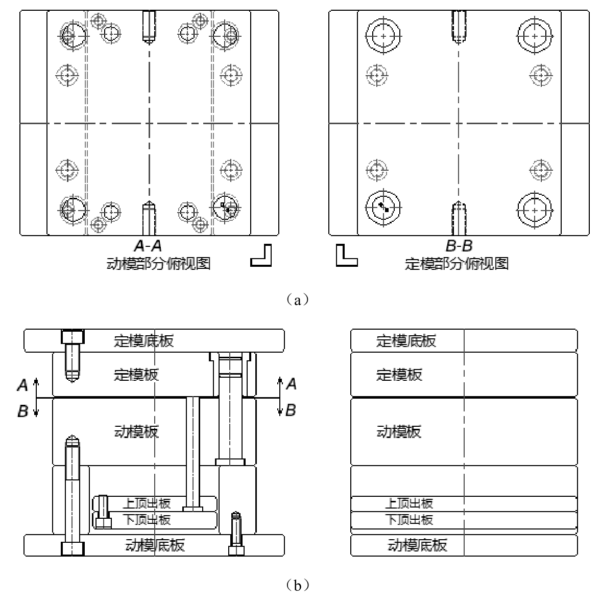
图3-5所示为CI型大水口模架的2D图。由图3-5可以看出,此型号的标准模架由以下几个部分组成。

图3-5 CI型大水口模架的2D图
1.板子部分
板子部分包括定、动模底板,定、动模板,上、下顶出板,模脚(两个)。
2.固定螺钉部分

定模固定螺钉:锁定定模底板与定模板的螺钉,一般为4~6颗。
动模固定螺钉:锁定动模底板与动模板的螺钉,它穿过了模脚,与其配合方式是间隙配合,一般为4~6颗。它的大小和到模具中心线之间的距离与定模固定螺钉一致,只有长度与定模固定螺钉不一样。
顶出板锁紧螺钉:锁定上、下顶出板,分布在顶出板的4个角上,一般为4颗。
模脚固定螺钉:锁定动模底板与模脚,一般为4~6颗。
3.辅助零件部分
导柱与导套:共4套。为了防止模具在安装时装反,4套导柱与导套中靠近基准的1套向模具中心线上方偏2mm,无论模具大小,每套模具都一样。
回针:共4个,分布在顶出板的4个角上。
4.辅助设置部分
吊环孔:由于模具一般都较重,为了方便模具的安装和搬运,在加工现场都会用到吊车,因此在模架上设计了吊环孔。
大水口模架共分为三大类,共12种型号,除前面所讲的CI型以外,还有其他型号。
(1)“工”字形模架,包括AI型、BI型、CI型、DI型4种,如图3-6所示。

图3-6 “工”字形模架
(2)无定模底板的直身型模架,包括AH型、BH型、CH型、DH型4种,如图3-7所示。
(3)有定模底板的直身型模架,即AT型、BT型、CT型、DT型4种,如图3-8所示。

图3-7 无定模底板的直身型模架

图3-8 有定模底板的直身型模架
